下载地址:https://download.csdn.net/download/qq_31293575/18340399
项目介绍
基于python+MySQL数据库的图书管理系统设计与实现源码+论文
适用场景
毕业论文、课程设计、公司项目参考
系统说明
目录
一、绪论
1.1课题意义及目的
当前时段是一个快速发展的信息时段。信息解决方案在各个领域都是必需的。随着互联网技术在适当时间的广泛普及,基于互联网技术的网络技术应运而生,近年来发展趋势很大,已成为一种全新的,经过改进的经商方式。专家认为,这是经济发展的新转折点。这种类型的网络技术方法显然对管理功能和信息传输技术提出了更高的要求,其中似乎有必要开发安全管理系统。[3]
如今,随着知识经济时代的到来,物质文明的发展趋势长期落后于所有要求,精神文明的发展具有迅猛的发展趋势。结果,书籍创作的趋势已成为驱动力。为精神文明的发展而努力。[4]
在整个正常业务过程中,图书馆,某些企业甚至书店都处理了大量有关读者,书籍和客户借阅材料的信息。因此,有必要开发一种方法来管理读者资源,书籍资源,信息借阅和归还,并在每个阶段立即了解信息的变化。如今,有许多图书馆管理员主要使用电子计算机来开发信息管理方法,甚至不使用电子计算机。过去,信息管理方法的主要方法是基于手动生成文本,报告和其他纸质材料。统计分析和帐簿借阅条件(例如,借阅天数,超出借阅时间的天数)最常用于借阅。数据,信息和信息是劳动密集型的,容易出错。由于数据和信息的多样性,它们非常容易丢失且难以搜索。一般而言,缺少系统软件和标准信息管理技术。尽管某些图书馆拥有电子计算机,但它们并未用于信息处理方法,并且其法律效力还没有得到充分利用。显然,资源未被使用。这是需要开发的问题,并且需要开发智能书管理系统。[5]
这个复杂的问题需要开发智能图书管理系统。使用计算机系统来管理图书馆是通过自动化技术进行的,该技术不仅可以节省人力资源,而且可以提高工作效率和服务水平,并加快书籍的发行速度。使用标准化,专业和软件操作来管理书籍,防止意外的书籍管理技术,提高信息传播的速度和准确性,并能够立即,准确,合理地执行书籍管理技术的实际操作,例如查看和更改书籍状态。
1.2课题目标
在本文中,图书馆的读者和书籍管理是基本的,它基于pycharm作为开发工具,基于mysql作为数据库查询来完成图书馆管理系统软件的开发和设计。密钥包括以下内容:
明确的要求:图书馆管理系统软件是图书馆运营和管理的关键。它是一种自动化管理,可以更好地完成长期图书馆开发计划。这也是一种方便,准确,高效的图书馆管理,难以维护。标准化图书馆管理和自动化技术,然后展示更科学,准确的管理基础。该系统软件开发的主要总体目标是完成图书馆管理的专业化和标准化。
通用设计方案系统架构图:如何开发系统软件以确保数据信息的一致性和准确性;什么样的结构可以确保系统的顺利建立及其长期稳定的运行;
开发与设计:了解开发工具的计算机语言;学习定义数据库查询,附件和表结构等;了解编程标准。[6]
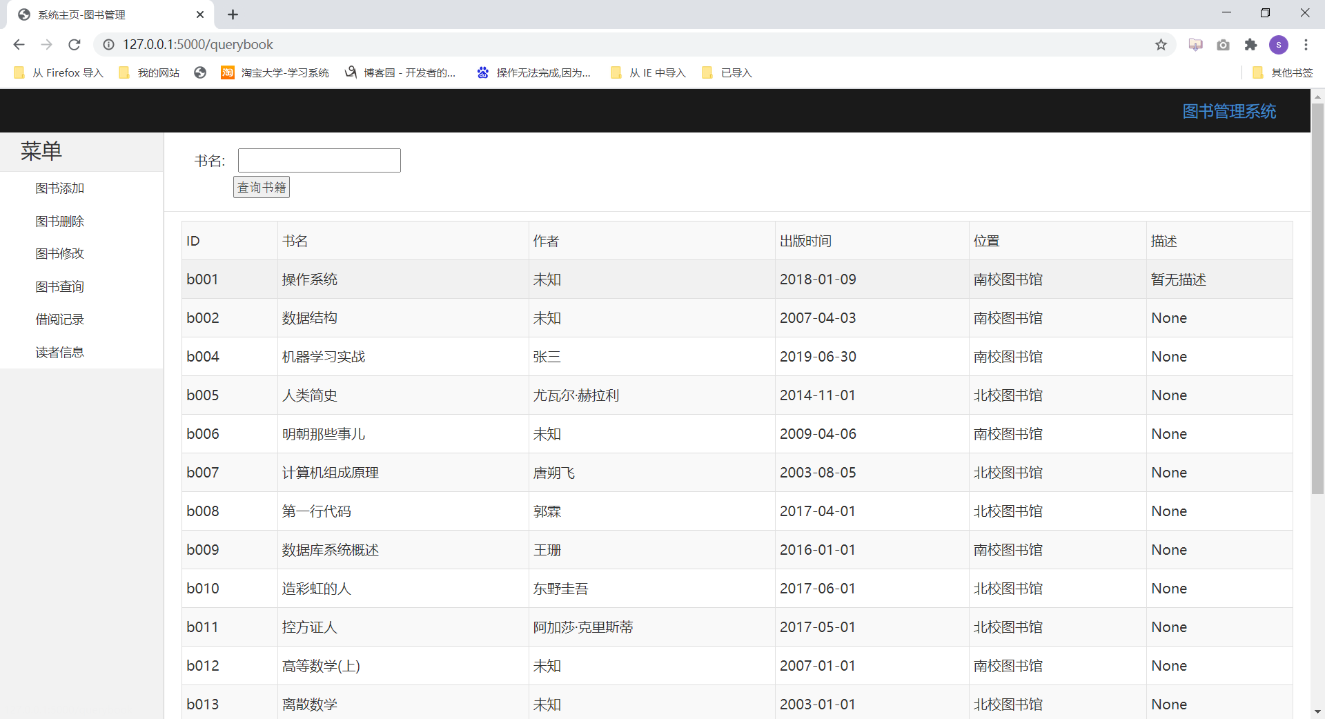
运行截图
关注【程序代做 源码分享】公众号获取更多免费源码!!!






